Product Summary
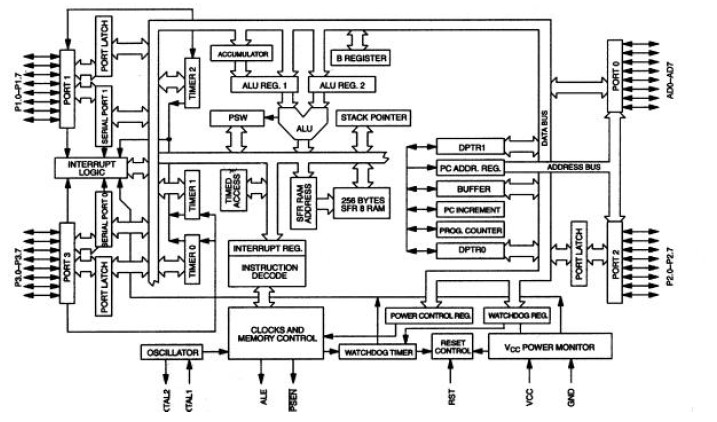
The DS80C320-MCG is an high-speed/low-power microcontroller.The DS80C320-MCG is a fast 80C31/80C32-compatible microcontroller. Wasted clock and memory cycles have been removed using a redesigned processor core. As a result, every 8051 instruction is executed between 1.5 and 3 times faster than the original for the same crystal speed. Typical applications of the DS80C320-MCG will see a speed improvement of 2.5 times using the same code and same crystal. The DS80C320 offers a maximum crystal rate of 33 MHz, resulting in apparent execution speeds of 82.5 MHz(approximately 2.5X).
Parametrics
DS80C320-MCG absolute maximum ratings: (1)Voltage on Any Pin Relative to Ground: -0.3V to (VCC + 0.5V); (2)Voltage on VCC Relative to Ground: -0.3V to +6.0V; (3)Operating Temperature: -40℃ to +85℃; (4)Storage Temperature: -55℃ to +125℃; (5)Soldering Temperature: 160℃ for 10 seconds.
Features
DS80C320-MCG features: (1)80C32-Compatible: 8051 pin and instruction set compatible; Four 8-bit I/O ports; Three 16-bit timer/counters; 256 bytes scratchpad RAM; Addresses 64 kB ROM and 64 kB RAM; (2)High-speed architecture: 4 clocks/machine cycle (8032=12); DC to 33 MHz (DS80C320); DC to 18 MHz (DS80C323); Single-cycle instruction in 121 ns; Uses less power for equivalent work; Dual data pointer; Optional variable length MOVX to access fast/slow RAM/peripherals; (3)High integration controller includes: Power- fail reset; Programmable watchdog timer; Early-warning power- fail interrupt; (4)Two full-duplex hardware serial ports; (5)13 total interrupt sources with six external; (6)Available in 40-pin DIP, 44-pin PLCC and TQFP.
Diagrams

| Image | Part No | Mfg | Description | ![]() |
Pricing (USD) |
Quantity | ||||||||||||
|---|---|---|---|---|---|---|---|---|---|---|---|---|---|---|---|---|---|---|
![]() |
![]() DS80C320-MCG |
![]() Maxim Integrated Products |
![]() 8-bit Microcontrollers (MCU) High-Speed Low-Power |
![]() Data Sheet |
![]()
|
|
||||||||||||
![]() |
![]() DS80C320-MCG+ |
![]() Maxim Integrated Products |
![]() 8-bit Microcontrollers (MCU) High-Speed Low-Power |
![]() Data Sheet |
![]()
|
|
||||||||||||
(Hong Kong)










