Product Summary
The 7MBP25RA120-03 is a FUJI IGBT module. It has low power loss and soft switching.
Parametrics
7MBP25RA120-03 absolute maximum ratings: (1)DC bus voltage: 900V; (2)collector-emitter voltage: 1200V; (3)reverse voltage: 1200V; (4)collector current: 25A; (5)forward current of diode: 15A; (6)junction temperature: 150℃; (7)input voltage of power supply for pre-driver: 20V; (8)alarm signal current: 15mA.
Features
7MBP25RA120-03 features: (1)temperature protection provided by directly detecting the junction temperature of the IGBTs; (2)low power loss and soft switching; (3)compatible with existing IPM-N series packages; (4)high performance and high reliability IGBT with overheating protection.
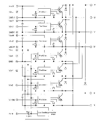
Diagrams

![]() |
![]() 7MBP100RA060 |
![]() Other |
![]() |
![]() Data Sheet |
![]() Negotiable |
|
||||
![]() |
![]() 7MBP100RTB060 |
![]() Other |
![]() |
![]() Data Sheet |
![]() Negotiable |
|
||||
![]() |
![]() 7MBP100TEA060 |
![]() Other |
![]() |
![]() Data Sheet |
![]() Negotiable |
|
||||
![]() |
![]() 7MBP150RA060 |
![]() Other |
![]() |
![]() Data Sheet |
![]() Negotiable |
|
||||
![]() |
![]() 7MBP150RTB060 |
![]() Other |
![]() |
![]() Data Sheet |
![]() Negotiable |
|
||||
![]() |
![]() 7MBP25RA120 |
![]() Other |
![]() |
![]() Data Sheet |
![]() Negotiable |
|
||||
(Hong Kong)








