Product Summary
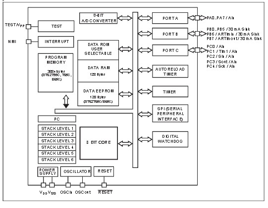
The ST62T65C6 is an 8-bit otp/eprom mcu with a/d converter. The ST62T65C6 is low cost member of the ST62xx 8-bit HCMOS family of microcontrollers, which is targeted at low to medium complexity applications. The ST62T65C6 is based on a building block approach: a common core is surrounded by a number of on-chip peripherals. The ST62T65C6 features a Timer comprising an 8-bit counter and a 7-bit programmable prescaler, an 8-bit Auto-Reload Timer, EEPROM data capability (except ST62T55C), a serial port communication interface, an 8-bit A/D Converter with 13 analog inputs and a Digital Watchdog timer, making them well suited for a wide range of automotive, appliance and industrial applications.
Parametrics
ST62T65C6 absolute maximum ratings: (1)Supply Voltage: -0.3 to 7.0 V; (2)Input Voltage VSS: - 0.3 to VDD + 0.3(1) V; (3)Output Voltage VSS: - 0.3 to VDD + 0.3(1) V; (4)Total Current into VDD (source): 80 mA; (5)Total Current out of VSS (sink): 100 mA; (6)Junction Temperature: 150 °C; (7)Storage Temperature: -60 to 150 °C.
Features
ST62T65C6 features: (1)3.0 to 6.0V Supply Operating Range; (2)8 MHz Maximum Clock Frequency; (3)-40 to +125°C Operating Temperature Range; (4)Run, Wait and Stop Modes; (5)5 Interrupt Vectors; (6)Look-up Table capability in Program Memory; (7)Data Storage in Program Memory:; (8)User selectable size; (9)Data RAM: 128 bytes; (10)Data EEPROM: 128 bytes (none on ST62T55C); (11)User Programmable Options; (12)21 I/O pins, fully programmable as: Input with pull-up resistor; Input without pull-up resistor; Input with interrupt generation; Open-drain or push-pull output; Analog Input; (13)8 I/O lines can sink up to 30mA to drive LEDs or TRIACs directly; (14)8-bit Timer/Counter with 7-bit programmable prescaler; (15)8-bit Auto-reload Timer with 7-bit programmable prescaler (AR Timer); (16)Digital Watchdog; (17)Oscillator Safe Guard; (18)Low Voltage Detector for Safe Reset; (19)8-bit A/D Converter with 13 analog inputs; (20)8-bit Synchronous Peripheral Interface (SPI); (21)On-chip Clock oscillator can be driven by Quartz Crystal Ceramic resonator or RC network; (22)User configurable Power-on Reset; (23)One external Non-Maskable Interrupt; (24)ST626x-EMU2 Emulation and Development System (connects to an MS-DOS PC via a parallel port).
Diagrams

![]() |
![]() ST62 |
![]() Other |
![]() |
![]() Data Sheet |
![]() Negotiable |
|
||||||||||||
![]() |
![]() ST62 & ST7 |
![]() Other |
![]() |
![]() Data Sheet |
![]() Negotiable |
|
||||||||||||
![]() |
![]() ST6200C |
![]() Other |
![]() |
![]() Data Sheet |
![]() Negotiable |
|
||||||||||||
![]() |
![]() ST6200L |
![]() Other |
![]() |
![]() Data Sheet |
![]() Negotiable |
|
||||||||||||
![]() |
![]() ST6200QNL |
![]() Pulse |
![]() Transformers Audio & Signal POWER IND |
![]() Data Sheet |
![]()
|
|
||||||||||||
![]() |
![]() ST6200QNLT |
![]() Pulse |
![]() Power Transformers SMT HIGH CURRENT IND |
![]() Data Sheet |
![]()
|
|
||||||||||||
(Hong Kong)









